产品概述:
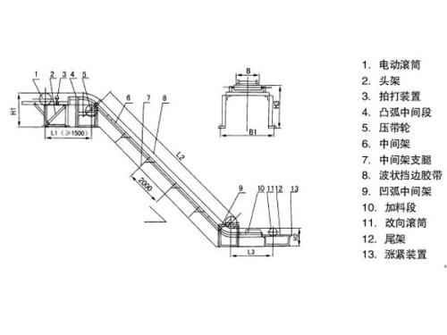
带式输送机(belt conveyer)又称胶带输送机,俗称"皮带输送机"。目前输送带除了橡胶带外,还有其他材料的输送带(如pvc、PU、特氟龙、尼龙带等)。 带式输送机由驱动装置拉紧输送带,中部构架和托辊组成输送带作为牵引和承载构件,借以连续输送散碎物料或成件品。
带式输送机是一种摩擦驱动以连续方式运输物料的机械。应用它可以将物料在一定的输送线上,从*初的供料点到*终的卸料点间形成一种物料的输送流程。它既可以进行碎散物料的输送,也可以进行成件物品的输送。除进行纯粹的物料输送外,还可以与各工业企业生产流程中的工艺过程的要求相配合,形成有节奏的流水作业运输线。所以带式输送机广泛应用于现代化的各种工业企业中。它用于水平运输或倾斜运输。广泛地应用在冶金、煤炭、交通、水电、化工等部门,是因为它具有输送量大、结构简单、维修方便、成本低、通用性强等优点。还应用于建材、电电力、轻工、粮食、港口、船舶、堆垛、装卸车等作业。

产品特点:
上料速度快。
连续工作时间长。
无泄漏现象,清洁卫生,适合于洁净厂房。
结构紧凑、移动方便、操作简单。
装有快装卡箍,便于折装和清洗,符合要要求。


